江苏雨灵机械科技有限公司
从事冷却设备的研制、开发、生产、销售及服务的科技型企业
Jiangsu Yuling machinery technology Co., Ltd. is specialized in cooling equipment research, development, production, sales and service of science and technology enterprises
联系方式

    地址:江苏省海安市立发大道169号

    电话:0513-88360268

    传真:0513-88363196

    邮箱:zhulinlin@yuling-machine.com

    网址:www.yuling-machine.com

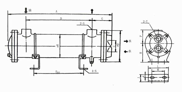
SL系列

  • 生产企业:江苏雨灵机械科技有限公司
  • 规格型号:SL系列
  • 电话号码:13813790595(朱先生)/15190849787(徐先生)
  • 快速咨询:在线咨询价格       通常五分钟内我们会通过电话与您联系!
  • 产品可服务于集中供热、空调制冷、机械设备、水泥、冶金、石化、电力、船舶、食品、医药、轻工等行业等领域。

产品介绍

Copyright © 2024-2027 江苏雨灵机械科技有限公司 All Rights Reserved.版权所有 苏ICP备2021035699号-1

苏公网安备32062102000444